技術用語解説63『超臨界水 (Supercritical Water)』

技術用語解説63『超臨界水 (Supercritical Water)』

 物質の状態は、分子間の凝集エネルギーによる構造形成と熱運動エネルギーによる無秩序化の大小関係により決まる。温度が低く分子運動エネルギーが低い場合、分子間距離が小 さいと、分子間引力により液相が形成される。したがって、気体を圧縮していくと凝縮が生 じる。ところが、ある温度(臨界温度)以上では任意の分子間距離で分子間ポテンシャルエネルギ ーに比して運動エネルギーが大きくなり、非凝縮性流体となる。臨界温度以上の流体 が超臨海流体である。超臨界状態では、水密度は圧力により大きく変化し、特に臨界温度、臨界圧力(この条件を臨界点と呼ぶ)においては、水の圧縮率は無限大となる。臨界圧力以上では高密度のガス状態となるため、溶質に対する溶解度も高くなり、溶媒としての機能も現 れる。また、臨界点近傍では若干の温度圧力により密度も大きく変化させることができ、液体溶媒にはない特性が現れる。
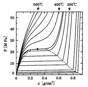
 界点は物質に固有の値であり、水の臨界温度は、374℃、臨界圧力は、22.1MPaである。水の密度の温度、圧力依存性を図1.に示す。

図1. 水の密度
図1. 水の密度

 流体物性は、分子間相互作用で決まり、分子間距離すなわち密度の直接の関数であるから、水の流体物性は、臨界点近傍では液体状態か ら気体状態まで連続的にしかも大きく変化する、誘電率は、相平衡、反応平衡・速度の支配因子である、水の誘電率は、常温付近では78ときわめて高くこれが、水が電解質を溶解させ、またイオン反応場としても機能する要因でもある。しかし、高温場では誘電率は低下し、超臨界状態では、2~10程度と極性有機溶媒と同程度の値を示す。しかも、水の誘電率は臨界点近傍で大きく変化する。これは、相の状態や反応平衡・速度を若干の温度圧力で制御しうる可能性を示している。
 水と油の性質と言うように、室温付近では水は有機物質とは混じり合わない。しかし、よ り高温場では、誘電率が極性有機溶媒と同程度にまで低下することを考えれば分かるように、均一相を形成する。超臨界状態では、もはや水と油の性質ではなくなる。このことは、水を有機溶媒として用いることができることを示唆している。また、水に酸素や水素のよ うな気体を吹き込めば、気泡となって相分離してしまう。しかし「高密度の水蒸気状態」である超臨界水とは均一相を形成する。このような通常の水とは異なる溶媒特性が新たな反応場としての期待を広げている。
 1980年前後、米国のMITのモデル教授は、超臨界水と有機物質と酸素が均一相を形成す ることに着目し、下水処理を高速で完全分解する技術を提案した。現在、超臨界水酸化技術 は、米国、日本、欧州を中心に開発が進められている。酸や塩基触媒を加えなくとも加水分解が進行することに着目し、高分子からの化学原料回収技術について研究を進めてきた。神 戸製鋼所は、この技術を用いたケミカルリサイクル技術の開発を進め、1998年、武田薬品鹿 島工場内のTDI(リレンジカソシアネートポリウレタン原料)合成プラントから排出されるTDI残渣からTDIの原料であるTDA(トルエンジアミン)を回収する世界初の超臨界ケミカルリサイクル技術を完成させた。
 最近、酸・塩基触媒を用いて進行することが知られていた、加水分解、脱水、フリーデルクラフト、ベックマン転移、ピナコール転移、レトロアルドール等、様々な有機合成反応が、超臨界水中では、触媒を添加しなくとも進行することが報告されている。また、金属塩水溶液を加熱処理することで金属酸化物を生成させる水熱合成反応を超臨界場で行うことで、反応・溶解度の制御性も得られ、新たな機能性粒子合成の展開が期待されている。また、超 臨界水は、有機溶媒や危険な物質を用いない新規環境適合溶媒(グリーンケミストリー)プ ロセスの面からも重要な反応場としても位置づけられる。
生命が誕生したのは、海底奥深くの熱水中であったというのが定説になっている。実際 メタン、CO₂、アンモニアと水とは均一相を形成し、超臨界水中でアミノ酸を生成する。また、アミノ酸を仕込んで熱水中で処理すればペプチドが生成する。.臨界点近傍での相の状態と反応の理解が進めば、化学進化から、新規合成プロセス創出まで様々な可能性が広がると考えている。

以上

【参考文献・引用先】

  1. 「超臨界流体 ~環境浄化とリサイクル・高効率合成の展開~」 阿尻雅文著 アグネ承風社
  2. 「技術用語解説2『超臨界ガス抽出(Supercritical gas extraction)』」2020/09/25
    木本技術士事務所HP http://s10300791000002.c32.hpms1.jp/keyword/1064