2022/02/21
『高濃度空気輸送における粉体物性の影響について』
      
        Effect of powder physical properties on high-concentration air transportation
      
    
    1. 輸送に関わる粉体の物性
           粉体の輸送には物性が大きく影響する。まず機械式輸送では、そのうちのスクリュコンベヤを代表として例にする。
           真密度、空隙率、付着・凝集特性(内部摩擦、壁摩擦特性、引張破壊力として測定される)、圧縮特性が主に関わっている。輸送能力はスクリュの回転によって計算される理論移動量に容積率と輸送効率を掛けて計算される。この容積率は、輸送機に入る前のかさ密度と輸送中の比である。かさ密度は、真密度と空隙率で計算される。空隙率が応力および流動の状態によって変化することについて、実験式はあるが、理論的な研究は進んでいない。また、輸送効率はスクリュとの滑り方などにともなって輸送能力が低下する率で、付着・凝集特性が影響すると考えられるが、これも物性との関係は明確にされていない。しかし、これら容積率と輸送効率は、各社のノウハウとして経験値が蓄積されて輸送能力の設計に用いられている。
           一方、空気輸送では物性が輸送の可否を左右するほど大きく影響する。その中で低圧空気輸送⇒低濃度の空気輸送では、主に粒子が分散して単独に運動しながら輸送されることを前提にしてシミュレーションが行われている。そこでは、個々の粒子の真密度、粒子径、反発係数などが物性として用いられている。
           低濃度空気輸送の実務設計でも、粒子径、真密度、抵抗係数(球形粒子に比べたときの、粒子形状に起因する気体中の粒子の抵抗係数)によって沈降速度を算出し、気流中の混合比(固体と気体の質量流量比)を考慮して輸送速度(特に限界最小風速)と圧力損失を推定することがある。
           高濃度輸送、特にプラグ輸送の場合は、粉体層としての特性が影響する。輸送管中における粉体の集合体の運動については、粉体のブロックとして層を形づくる際の付着・凝集性が重要である。さらにいったんできた集合体の壊れ難さ(塑性変形の生じ難さ)に影響する「絡み性」も考えられる。ただしこの絡み性は、繊維状物などの集合体が壊れ難いことによって輸送中に閉塞を引き起こすことが実務では実感されているが、概念として明確にされていない。
           次に、プラグ輸送を含む高濃度空気輸送において、それらを困難にする物性とその影響および解決策について以下2.項から5.項に詳述する。
        
2. ブロータンク型輸送
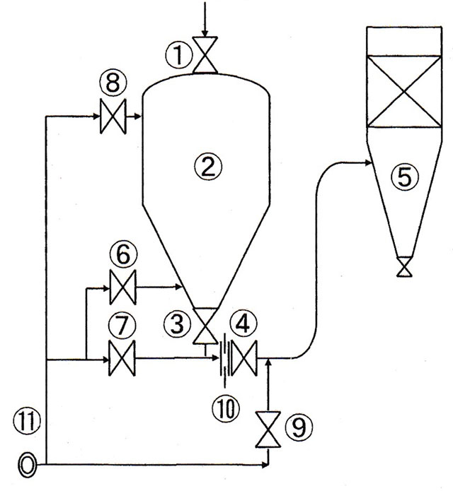
高濃度輸送は、一般にブロータンクを用いて行われる。図1.ブロータンク式輸送方式のフロー図(流れ図)で、概ね次のような手順で行われる。
 
          
          (a) 調節型排出弁図③の開度を設定し、出口弁図④を閉じる
          (b) 入口弁図①を介して、圧力タンク図➁に粉体を投入し、入口弁図①を閉じる
          (c) 各吹込み弁図⑥、⑦、⑧の全部または一部を用いて圧縮空気を吹き込み昇圧する
          (d) 圧力タンク図➁が所定の圧力に達したら出口弁図④を開けて捕集タンク図➄に向けて輸送を開始する
          (e) 出口弁の手前に流量制御オリフィス図⑩を設置する
          粉体流量を抑制して混合比を過剰に上げないようにするといったケースで用いる。
          (f) 圧送方式の場合は、空気圧縮機図⑪を用いる
          バルブの開閉のタイミング、吹込み口の取り付け位置とその風量、風圧の設定などで各社の型式ごとに装置の特徴および操作のノウハウがある。
           吹込み弁図➈を用いるなど従来の輸送手順と異なる方法もある。輸送管内で粒子が集合体になって輸送される状況が明確な場合を「プラグ輸送」と呼ぶが、実際には固定したプラグであることはなく、集合体が変形しながら輸送されていく。
        
3. ブロータンク輸送の自律調整作用
ブロータンク方式の高濃度高圧空気輸送が、閉塞を生じずに安定して行われる理由の一つに、供給速度、空気速度、圧力損失が自然にある値に落ち着く自律調整作用が働くためである。
 
          
           これは、図2.に示す供給速度、圧力損失、空気流量の循環的な作用で、系内の乱れに応じて、与えられた操作条件の範囲内では収束する方向に働く。ここでいう乱れは、輸送管への供給速度の変動、物性の変動、1バッチ輸送中のタンク圧力および空気速度の変化などである。
           この自律調整作用は与えられた系の中で1つの解に向かって収束するとは限らない。タンクから流出する粉体の速度が増加せず低い状態に留まり、比較的高濃度で平衡状態を保って輸送されることもある。輸送開始圧が低い場合に比較的低濃度で輸送されることもある。また、粉粒体の物性のみならず、運転条件によって大きく変化する。
           運転操作または乱れに対して自律調整作用が働かず発散し過度に圧力が高い状態になると閉塞を生じる。高さ密度、固結性、低流動性および絡み性の物性を持つ粉粒体を、特別な工夫を加えずにブロータンク輸送を行う場合は、この自律調整作用が働く範囲内に輸送条件を設定することが容易でない、あるいは不可能なことがある。
           プラグ輸送において、低速の密度の高い状態では、崩壊しにくいプラグを形成すると、それを移動させるための圧力損失が極度に上昇して閉塞が生じやすくなる。実用的なプラグ輸送時は、プラグが同じ形を保って輸送管内を移動するのではなく、程度の多少はあるが変形(崩壊および再形成)を繰り返しながら移動している。特にベンド部では、この変形性、いわばプラグの可塑性がなければプラグが通過することができない。
          高濃度輸送では、濃度が高くなるほどこのプラグの変形性が重要な要素になると考えられるが、その機構および物性との関係は未だ解明されていない。
        
4. 供給の制御
           ブロータンク輸送において輸送初期の供給は問題となりやすく、タンク出口弁の解放とともに粉粒体が多量に輸送管に流入し、それが原因とって閉塞を生じることがある。輸送の開始操作の直後に閉塞を生じるのは、この現象による場合が多い。輸送初期以後においても、自律調整作用が働く範囲を超えた供給過剰は閉塞の原因となる。供給量の規制のためには、次のような方法が用いられる。
          (a) ブロータンクの排出口の形状・寸法をバルブ、オリフィスなどで調節する
          (b) タンク(供給)側とタンク排出部(輸送空気)側から流入させる空気速度の比率を調整する
          (c) 輸送空気の一部を輸送管に流入させる
          (d) タンク圧力を低くする
          という方法である。
           特にかさ密度が3kg/Lを超えるほど高い粒体は、よほどの高速でないと輸送が不可能なことがある。それに対しては、輸送管中にプラグ1~2個ずつが存在するように輸送するショット供給が有用である。
           一方、逆の供給速度低下も大きな課題である。低流動性または固結性の粉粒体では、供給速度が不安定であるか供給が行われないことがある。これらを輸送管に供給するには、
          その供給部で凝集塊、固結塊を解砕し、または固結塊が生じるのを防止して、流動化しないままでも均一の状態にして供給を円滑に行うための対策が必要である。その対策として、ブロータンクへの間欠衝撃、振動、高速空気吹込み、タンク出口形状の工夫などの対策が施される。
        
5. 空気輸送のトラブルに及ぼす粉体物性とその対策
輸送困難を引き起こす物性のうち、高かさ密度、易粒子摩耗性、易固結性、低かさ密度、低流動性、絡み性の6つの物性に適合した空気輸送装置またはそれに対する工夫と操作条件を表1.に示す。
 
        これらの物性の一部は相互に関連しており、対策も多岐に渡っている。機械輸送および空気輸送における閉塞などのトラブルを粉体物性と関連付けて、実用的な対策を施す必要がある。
以上
          【参考文献】
          1. 「わかる!使える!粉体入門」著者:山田昌治 出版社:日刊工業新聞社
          2. 「粉粒体ハンドリング技術」編者・出版社:一般社団法人 日本粉体工業技術協会
        
